
|  |  |  |  | |||||||||||||||||||||||||||||||||||||||||||||||||||||||||
|  |  |  | 800.514.3066customer service | |||||||||||||||||||||||||||||||||||||||||||||||||||||||||
|  | ||||||||||||||||||||||||||||||||||||||||||||||||||||||||||||
|   | Kaydon white papersSlewing bearing selection, simplified  Selecting the right slewing bearingSlewing bearings are typically used in applications where their ability to transmit relatively high loads is of primary importance. However, there are other potential application requirements that can have a significant impact in the selection of an appropriate slewing bearing, and they should be thoroughly considered during the selection process. These considerations include, among others, rotational speed, protection from contamination, accuracy, frictional resistance, and temperature range of the operating environment. 
 Steps for selecting a slewing bearingThis white paper outlines nine steps to follow in order to select the appropriate slewing bearing for a given application. Note that these guidelines apply to 'normal slewing applications,' which are defined as those that meet the following conditions: 
 If yours is not a 'normal application,' consultation with your bearing supplier during the early stages of a project can help assure success. 
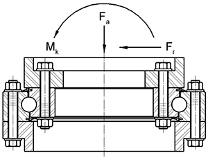
 Step 1Determine what is required of your application in terms of load, speed, accuracy, torque, environment, coatings, mounting arrangements, and lubrication. Kaydon's Specification Data Sheet lists the more common requirements; download the data sheet, use the online form, or see pages 125 and 126 of Kaydon Catalog 390. Early consultation with your bearing manufacturer will help assure selection of a bearing that provides the necessary features to meet your requirements. Step 2Determine all maximum bearing loads, being sure to include all dynamic and static loads imposed on the bearing. Consider all applied forces to the bearing and gear—not only at rated and working loads, but also loads imposed during: 
 These loads in turn must be simplified into the forces acting at the bearing's center. See Figure 2. 
 Step 3Multiply the resultant bearing forces by the applicable service factor (SF). See Table 1 for the service factors of common applications, or use the Kaydon Bearings slewing bearing selector tool. Application service factors are based on a number of considerations. The primary considerations are the frequency of use at higher vs. normal loads and potential for extreme or impact loads. These factors may be superseded by customer specification, finite element analysis (FEA), or regulations by certifying authorities. If the intended equipment and application do not appear in Table 1, select a comparable application for initial sizing. If unsure, consult with the bearing manufacturer. 
 * Excludes coilers/uncoilers Step 4If an integral gear is desired, determine the required gear capacity. As with bearing loads, consider all conditions that would generate potential gear loads. Examples include dynamic loads while working vs static loads; loads on incline; and overload testing. Consider also the duty cycle at each of these conditions. 
 Step 5Determine the preferred mounting arrangement, considering the pinion and gear location. Consider the requirements for installation and continued maintenance of the bearing and retaining bolts. Slewing bearings can be designed to suit a number of mounting arrangements. See Figures 3 through 6 for examples of basic arrangements available from Kaydon Bearings, which can be varied to suit the requirements of a specific application. The mounting structures shown are intended to be illustrative only. 
 
 
 
 Step 6Review available bearing styles and cross-sections. Figure 7 features a few of the slewing bearing designs available from Kaydon. Kaydon's slewing bearing Catalog 390 provides detailed information about the design features, sizes, and ratings of each bearing series. Download the catalog. 
Figure 7 
 
 
 
 Step 7Make a preliminary selection by comparing the resultant operating bearing forces, including service factor (SF), to the bearing's rating curve. In order for a bearing to be appropriate for a given application, all required resultant force combinations should fall below the curve. Assure all extreme load conditions fall below the bearing's rating curve. If extreme load condition is static and only occurs several times during bearing's service life do not include the service factor. Otherwise, include the service factor. The maximum thrust rating of a bearing should exceed 3 times the maximum operating thrust force on the bearing, regardless of the moment force at that condition. This criteria is due to concern for rigidity of the supporting structure and ability to properly distribute the load around the bearing's diameter. If the bearing desired does not meet this criteria, contact the bearing manufacturer for assistance. Load curves for Kaydon slewing bearings, such as the example in Figure 8, can be found using the Kaydon slewing bearing selector or Catalog 390. Several bearings may meet the required load ratings. 
 Step 8Check the gear size, quality, and rating for suitability. View a sample gear rating chart, from Kaydon Bearings. The chart's gear tooth rating (Fz) indicates the maximum allowable tangential gear tooth load for normal slewing bearing applications. Refer to page 21 of Kaydon Catalog 390 for more details. Step 9Finally, confirm that the bearing you select meets all of your design requirements. The Kaydon slewing bearing selector can help with obtaining preliminary data. Consult with bearing and other component manufacturers, and submit a completed specification data sheet to the bearing manufacturer to confirm proper bearing selection. Ultimately, the responsibility for choosing the appropriate bearing rests with the equipment designer. ConclusionLike all bearings, slewing bearings serve as a connection between two adjacent structures, allowing rotation and transmission of load between them. In addition, a slewing bearing typically includes features for simple and quick attachment to those adjacent structures, and a feature to facilitate the mechanical rotation of one ring and its adjoining structure relative to the other. Slewing ring bearings have traditionally been thought of as large-diameter, heavy section, low-precision bearings. But today they are also readily available with bore sizes as small as 50 mm, making them ideal for robotics, radar pedestals, and other precision applications. The use of a single large-diameter bearing makes it possible for wiring and plumbing to run through the bore of the bearing. This can simplify overall design, help protect components, and improve appearance. Selecting the right slewing bearing is key. With attention to all relevant design requirements and with help from the bearing manufacturer, a slewing bearing can be specified that meets or exceeds all application requirements.   Download this article 
Slewing bearing selection, simplified |  |     
 | |||||||||||||||||||||||||||||||||||||||||||||||||||||||||